
國家高新技術企業
英文站
收藏我們
網站地圖
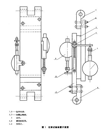
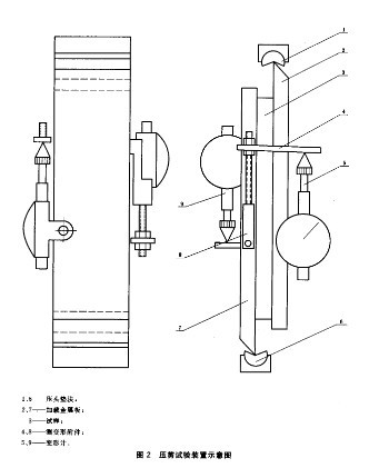
夾層玻璃,或叫夾膠玻璃,作為一種安全玻璃,在建筑領域隨著玻璃幕墻的發展有越來越多的應用。夾層玻璃是由兩片或多片玻璃其間夾粘聚乙烯PVB或SGP膠片,厚度一般為0.76mm、1.14mm、2.28mm。夾層玻璃是一種復合材料,其工作性能取決于夾層膠片的抗剪剛度。夾層膠片的抗剪性能等力學性能,國標有相關要求,是需要測試的。使用萬能試驗機來進行測試實驗。
國標GB/T1455-2005就修改了采用了ASTM C273-00《夾層芯材剪切性能的標準試驗方法》,由上海玻璃鋼研究所負責起草。
試驗時,通過對與試樣膠結的金屬加載塊施加拉伸或壓縮載荷,沿夾層結構面板方向對芯子產生平面剪切,從而測定出芯子的剪切強度。當安裝變形計,測出二面板或二加載鋼板的相對位移后,則可測出芯子的剪切彈性模量。

